


倉壁振動器,別名防閉塞裝置,為了防止和消除料倉,料罐或料門內物料起拱、出現管狀通道、倉壁粘料等不暢流現象專門用來使料倉、料罐或料斗漏料段的傾斜壁高頻振動,以保證物料從料倉、料罐或料斗中順暢流出,提高物料輸送的自動化程度。
煤炭、電力、建材、煤炭、礦山、化工、冶金、鑄造、輕工、食品、制藥、糧食、交通等各種行業貯料倉的防閉塞之用。
全國銷售熱線:182-2455-5590
倉壁振動器是可直接安裝在材料倉下部的新型振動破拱設備,是取代電磁式、附著式倉壁振蕩器的理想產品。 其有體積小巧, 外形美觀, 性價比高、振動力自由調節、自身維護簡單等特點。振動器在構造上具有獨特的優勢,外殼和機座是分體鑄造完成,大大加強了電機自身的靈巧性和安裝性,便于安裝和拆卸。 目前已廣泛應用于煤炭、電力、建材、煤炭、礦山、化工、冶金、鑄造、輕工、食品、制藥、糧食、交通等各種行業貯料倉的防閉塞之用。
LZF倉壁振動器不同與其它振動器,為什么這么說呢,小編來為你講解一下它的優勢具體在哪里?
1、LZF倉壁振動器能力強、功耗低、效果好、噪音低、壽命長
2、防堵塞能力強、使用范圍廣
3、安裝和維修方便;
4、外形美觀, 性價比高
5、振動力自由調節、自身維護簡單
6、體積小、重量輕、高效節能、安裝簡單
1、料倉錐部容量低于200m3的各種結構貯煤倉或貯料倉。
2、毫米級倉貯物料,微粉的含量低于20%。
倉壁振動器一般安裝在料倉下部沿倉高1/4處。
若非鋼制料倉或有加強筋不易振動的料倉,應在倉內鋪設振動板,將倉壁振動器焊接在振動板上,并一起緊固在料倉上。
1、定期更換潤滑油,振動器一般1000小時長時間運行后,更換一下潤滑油(軸承換油保養要求是800小時~1000小時為準)
2、定期清除機殼外積下的灰塵,以改善散熱條件,一定不能用水沖洗。
倉壁振動器維護
1、定期檢查絕緣電纜有無氧化或破損
2、機座和振動電機之間地腳螺栓的緊固
3、檢查機體焊接狀況,看是否有無開裂。
倉壁振動器可用螺栓把底座固定于料倉底部的倉壁上,也可直接把底座焊接在料倉上,其固定(焊接)要牢靠,與倉壁連接的剛度越好,其使用效果就越好。
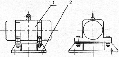
結構如圖所示。由振動電機(1),底座(2)兩部分組成。振動電機和底座由螺栓緊密地固定為一體。由于底座緊固地安裝在料倉壁上,這樣就構成了單質點定向強迫振動系統。

| LZF倉壁振動器型號 | 適用料倉槽壁厚(mm) | 錐部倉容(T) | 配用振動電機 | 激振力(KN) | 功率(KW) | 外形尺寸(長×寬×高) | 激振頻率r/min | 重量(kg) |
| LZF-3倉壁振動器 | 1.6-3.2 | 0.6 | 0.7-2 | 0.7 | 0.075 | 258×260×198 | 3000 | 20 |
| LZF-4倉壁振動器 | 3.2-4.5 | 1 | 1.5-2 | 1.5 | 0.15 | 280×250×270 | 25 | |
| LZF-5倉壁振動器 | 4.6-6 | 3 | 2.5-2 | 2.5 | 0.25 | 300×250×280 | 38 | |
| LZF-6倉壁振動器 | 6-8 | 10 | 5-2 | 5 | 0.4 | 300×250×280 | 42 | |
| LZF-10倉壁振動器 | 8-10 | 20 | 10-2 | 10 | 0.75 | 350×280×320 | 58 | |
| LZF-15倉壁振動器 | 10-12 | 50 | 15-2 | 15 | 1.1 | 410×300×350 | 65 | |
| LZF-20倉壁振動器 | 12-15 | 80 | 20-2 | 20 | 1.5 | 500×330×410 | 98 | |
| LZF-25倉壁振動器 | 15-25 | 150 | 30-2 | 30 | 2.2 | 540×370×455 | 147 |
Copyright © 新鄉市德誠電機制造有限公司地址:中國-河南省-新鄉市衛濱區八里營工業區 備案號:豫ICP備17009285號-10